
Samsung has filed a patent for an AI-powered system that could fundamentally reshape how ad blocking works.
Most browser-based ad blocking today depends on manually updated filter lists. Instead, Samsung's approach uses artificial intelligence to identify and block ads.
The timing is notable. As Google rolls out Manifest V3 restrictions that restrict traditional ad blockers in desktop Chromium-based browsers, Samsung has been exploring a completely different paradigm that sidesteps their ability to limit ad blocking functionality. Google has deliberately curtailed it in Chromium-based browsers, where there is no extension framework to support mobile ad blockers at all.
This move makes sense given Chromium-based browsers (e.g. Chrome, Samsung Internet, Edge, etc) have a close to 100% market share on Samsung devices.
More importantly, the patent suggests implementation beyond web browsers. For example, via Samsung's One UI interface. This would enable ad blocking across both browsers and apps.
The system also includes a gesture feature where users can swipe away unwanted ads. Sound eerily familiar? Yes, Apple’s Distraction Control. But, unlike the iPhone feature, this Samsung concept takes it much further. It’s not just a one time thing, where an ad gets blocked in one session for one user. Instead, the most commonly swiped away ads are used as a model to block ads by default for all users.
If this system is deployed, it could expose hundreds of millions of Samsung device owners to AI-powered ad blocking. Globally, there are 1BN+ Samsung smartphones in use.
The AI Advantage
Traditional ad blockers rely on filter lists — databases of rules that identify ad serving domains and page elements. These lists require constant manual updates and typically take 1-2 days to address new ads. Samsung's system eliminates this entirely.
Their AI approach is inference-based, not generative. It recognises ads based on prior training, rather than interpreting content semantically in real time — which would be prohibitively expensive and slow.
Samsung first trains a large language model on massive datasets of web content, then compresses that knowledge into a lightweight neural network that runs locally on a device.
The result? An ad blocker that recognises ads without filter lists and runs locally without draining a phone’s battery.
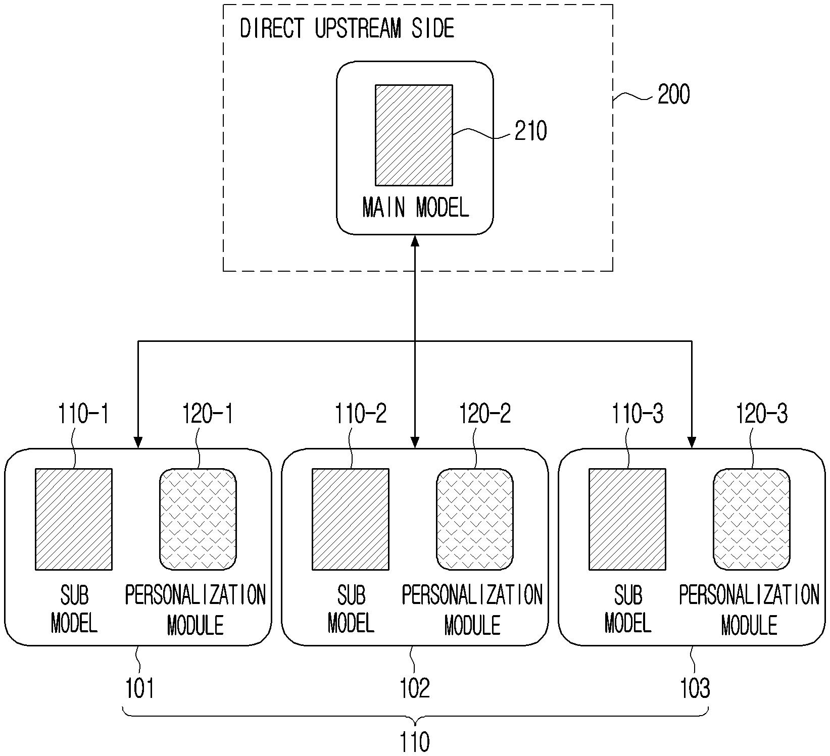
Unlike current ad blockers that apply the same blocking rules to everyone, Samsung's system learns individual user preferences through a two-tier approach.
A "main model" runs on Samsung's servers, trained on massive datasets of web content. This identifies and blocks ads that have broad consensus — similar to how existing ad blockers work with universal filter lists. Smaller "sub models" run locally on devices, learning individual user preferences without sending personal data to the cloud.

Crowdsourced Personalisation
Users swipe away unwanted ads, with the system learning from these interactions. When a certain threshold of users (e.g, 5%) block the same content, it gets added to the shared model that everyone receives. Individual preferences — the stuff only the user finds annoying — stays entirely on their device.

The patent also describes reason-based feedback, where users can select why they blocked an ad ("dislike position," "unrelated topics," "offensive content," "child protection"). This metadata fine-tunes the personalisation model and improves future predictions.

Samsung even envisions premium blocking options where users can pay to block ads, with pricing tiers like $10/month cited in the patent as an illustrative example.

This training uses differential privacy techniques to ensure that even when the shared model is updated, individual user behaviour can't be reconstructed. Personal preferences stay on-device while anonymous patterns improve the overall system.
Technical Implementation
At the heart of the system is a large language model trained on vast web datasets.
Samsung compresses this model in two stages:
Distillation, which teaches a smaller model to mimic the original’s behaviour
Quantisation, which shrinks the model further by reducing numerical precision
The final result: a 32MB neural network that runs locally on phones.
This works on multiple fronts: blocking ads at the network level and hiding them on pages. It can analyse HTML structure, network calls, and user feedback to identify advertising content.
The patent discusses applying the AI-powered system to the Alexa Top 10,000 websites — sites like Google, Facebook, YouTube, and CNN — and provides detailed model sizes and blocking performance metrics. While it doesn’t explicitly describe live testing, the level of specificity suggests this goes beyond theory, likely pointing to a working prototype.
Why This Matters Now
Two factors make this patent particularly significant.
First, advances in large language models have reached the point where AI can identify ads without relying on pre-written rules. Just as importantly, these models can now be compressed and run locally on smartphones.
Second, Samsung Internet is built on Chromium and currently supports traditional ad blockers. But Google's Manifest V3 update — which severely restricts rule-based ad blocking — will eventually affect Samsung's browser too.
Samsung's AI approach represents a completely different status quo that could bypass Google's restrictions entirely. While Google limits how many filtering rules browser extensions can use, there's nothing technically stopping Samsung from building AI-powered blocking directly into their own browser (Samsung Internet) or user interface (One UI).
That being said, there is a major commercial constraint to consider. Google pays Samsung a lot of money to keep Google services as defaults on Samsung devices — money that could be at risk if Samsung enables system-wide ad blocking affecting Google's advertising business.
However, recent antitrust rulings against Google's search monopoly could change these dynamics, potentially giving Samsung more freedom to implement such technologies. With Perplexity now in talks with device manufacturers to pre-install its Comet browser, it feels like we're entering a new era where the old rules are diminishing and manufacturers are becoming more receptive to alternatives that challenge Google's dominance.
Industry Impact
For publishers, the impact depends on adoption patterns. If Samsung's AI system primarily becomes a replacement for existing ad blocker users, publishers could actually benefit. Unlike current blockers that block everything by default, Samsung's system only blocks the most intrusive ads that most users find annoying.
But if Samsung promotes this as a key selling feature and makes it easy to use, it could significantly expand the ad blocking user base — creating a net negative as millions of new users start blocking ads for the first time.
For advertisers, this could be genuinely positive. The ads that reach users would be formats that don't annoy people, potentially improving engagement rates and brand perception. Rather than the current binary of blocked/unblocked, Samsung's system enables more granular user consent. This could also benefit publishers in the longer term.
For the ad blocking ecosystem, this is potentially transformative. If Samsung integrates this into browsers used by hundreds of millions of Android users, it could leapfrog traditional ad blockers in both sophistication and adoption.
There's even potential for rollout on Samsung TVs, where the company holds 28.3% global market share.
Adblock Analyst View
Patent filings by big corporations don't always translate to products, but this one deserves serious attention.
Samsung appears to have tested the system. The technical foundations appear solid, though practical hurdles remain around battery life and device performance for on-device AI ad detection.
Google's commercial grip over Samsung through payments to keep its services as defaults has been a major constraint for innovation, but ongoing antitrust troubles could change everything. If courts force an end to these distribution deals, Samsung gains much more freedom to deploy ad blocking that directly impacts Google's revenue. They’ll also have incentive to do it, by making their phones more competitive to consumers.
This could also open the door for Apple to follow suit. Their Distraction Control feature already hints at more sophisticated content filtering. An AI-powered version that learns user preferences while preserving privacy would fit with Apple's narrative.
What’s unclear is how aggressively Samsung would implement this. On one end of the spectrum, it could be buried in the settings of Samsung Internet — similar to how Apple’s Distraction Control is tucked away in Safari. At the other extreme, Samsung could integrate it into One UI itself and actively push it to users across devices and apps. That decision will determine whether this remains a niche feature or reshapes the mobile advertising landscape.
If implemented widely, this wouldn't just be another ad blocker. It would be the first mainstream deployment of AI-powered ad blocking at device scale — fundamentally changing how the advertising ecosystem operates.
The days of rule-based ad blocking are numbered. Samsung's patent offers a window into what comes next.
Adblock Analyst
The business of the ad blocking ecosystem.
Don’t miss a beat. Subscribe below.
